首页 >> 游戏资讯

这个专利也许是任天堂新主机NX的交互部件

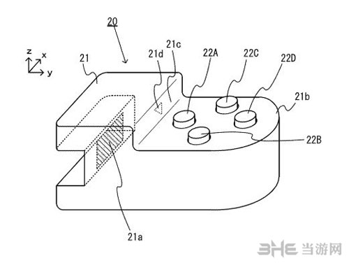
早些时候任天堂在美国商标局通过了3项新专利,这是一个拥有4个按钮的小部件加上一个类似WII U pad的显示设备,或许这是NX手柄的部件,在玩家游玩时可随意摘取。专利图如下,仅用于展示概念,不代表最终实物造型。

任天堂新专利图示1

任天堂新专利图示2

关于此项专利的详细情况可以前往此处查看 www.freepatentsonline.com/20160231773.pdf

◆可用于平板型便携设备,并支持随意摘取;

◆可通过红外通信用于其它设备,但可能会有延迟以及供电的问题;

◆目前不可用于现行的智能机,可看做是为新型设备设计的装置;

◆因为没有任何接口所以成本低廉,设计轻薄易于使用。



本文由欣欣吧游戏资讯栏目发布,感谢您对欣欣吧的认可,以及对我们原创作品以及文章的青睐,非常欢迎各位朋友分享到个人站长或者朋友圈,但转载请说明文章出处“这个专利也许是任天堂新主机NX的交互部件

标签: