首页 >> 游戏资讯

苹果将涉足VR虚拟设备:已宣布与Vrse开展合作

昨日,苹果正式宣布将与荷兰VR平台Vrse进行VR设备方面的合作,并已为此专门为U2乐队打造了名为Song For Someone的虚拟现实音乐视频。本次合作被命名为“The Experience Bus”,苹果似乎已决心要在这一新技术中插上一手了。

苹果VR音乐视频截图

运用虚拟现实技术的演唱会

虽然这是苹果首次涉足虚拟现实领域,但其实他们早已开始了这方面的准备。除了申请了一些与虚拟现实相关的专利之外,他们还在招募一些虚拟现实领域的专家,以便为虚拟现实项目做准备。另外,还有传言称苹果在今年收购了一家名为Metaio的从事虚拟现实开发的初创公司。种种迹象表明,苹果涉足VR领域绝对不是一时冲动。

虽然VR这个领域在近几年开始大热,也有很多厂商推出了自家的产品,但实际上,目前的很多VR产品都只是供开发者体验和使用的。加上这里面还有很多的技术瓶颈,还没到达一个能够完全商用的地步,厂商们的“圈地运动”也还没能圈到普通用户身上,因此苹果在此时涉足VR领域仍然不算太迟。加上苹果的品牌效应,一旦苹果真的要完全进入VR领域,并推出自家的相关产品的话,追捧的大有人在。

苹果VR

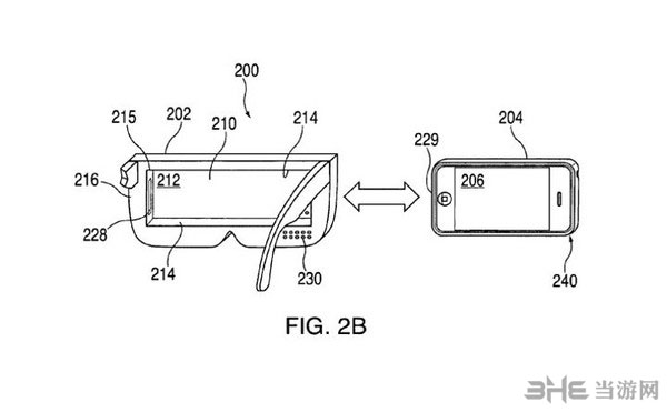
虚拟现实专利技术描述图片

据悉,苹果在推出Apple Music之前,就已经在跟Vrse进行合作,再考虑到苹果和其他的平台都有一定竞争关系,不与他们进行合作也是正常的。至于选择U2作为首个推出的内容就更容易理解了,U2是苹果的老牌合作伙伴,也曾多次到苹果发布会上表演助阵,甚至当年苹果还推出了几款U2纪念版的iPod,因此这决定不难理解。

虽然外媒消息当中提到了这个虚拟现实音乐视频需要通过佩戴VR头显来查看,但是我们仍不知道,苹果会选择哪一款VR头显。不过,既然耳机是用上了自家收购的Beats耳机,那么或许我们可以期待一下,苹果在未来也会收购VR头显制造厂商来填补硬件上的空缺,又或者,苹果自己造一个。

苹果VR设备



本文由欣欣吧游戏资讯栏目发布,感谢您对欣欣吧的认可,以及对我们原创作品以及文章的青睐,非常欢迎各位朋友分享到个人站长或者朋友圈,但转载请说明文章出处“苹果将涉足VR虚拟设备:已宣布与Vrse开展合作

标签: